Lompat ke konten Lompat ke sidebar Lompat ke footer
2010 Ford F 150 Fuse Box Diagram Fuse diagram ford box f350 f250 f550f450 duty super panel wiring layout compartment engine

2010 Ford F 150 Fuse Box Diagram Fuse diagram ford box f350 f250 f550f450 duty super panel wiring layout compartment engine

 2010 Ford F 150 Fuse Box Diagram Fuse diagram ford box f350 f250 f550 f450 duty super panel wiring layout compartment engine. 1992 ford f-150 power distribution box: im trying to find a. Fuse diagram ford box f350 f250 f550 f450 duty super panel wiring layout compartment engine. Fuse f150 f150forum. 35 2011 ford f350 fuse box diagram. Need a fuse box diagram/legend. F150 fusesdiagram

Fuse box diagram ford f-150 2009-2013. I need to find a fuse box diagram for a 2000 ford f150, or to know wich. Fuse box diagram ford f 150 10g and relay with assignment and location. 35 2011 ford f350 fuse box diagram. F150 fusesdiagram. 2011 ford f550 fuse box diagram. Fuse diagram ford box f350 f250 f550 f450 duty super panel wiring layout compartment engine

I need to find a fuse box diagram for a 2000 ford f150, or to know wich. Fuse ford box diagram wiring f150 2003 2000 focus 150 4x4 cab zx3 need legend v8 controls dome light panel. Fuse box ford diagram f150 2000 2006 controls under dash. F150 fusesdiagram. F150 xlt carfusebox manual junction. Fuse ford diagram box 2009 taurus f150 panel compartment passenger number ampere rating fusecheck. Fuse f150 f150forum. Fuse box diagram ford f-150 2009-2013

I need to find a fuse box diagram for a 2000 ford f150, or to know wich. F550 f250 transit f350 f450 fuses. Fuse box diagram ford f-150 2009-2013. Fuse box diagram ford 150 f150 2002 truck power lariat triton liter relay cab crew under 2wd engine diagrams v6. F150 xlt carfusebox manual junction. Fuse box diagram ford f 150 10g and relay with assignment and location. Fuse diagram ford box f350 f250 f550 f450 duty super panel wiring layout compartment engine. Fuse ford box diagram wiring f150 2003 2000 focus 150 4x4 cab zx3 need legend v8 controls dome light panel. F150 fusesdiagram

Ford F150 2007 Fuse Box - Wiring Diagram

Ford F150 2007 Fuse Box - Wiring Diagram Ford F150 2007 Fuse Box - Wiring Diagram

Need a fuse box diagram/legend. Fuse ford diagram box 2009 taurus f150 panel compartment passenger number ampere rating fusecheck. F550 f250 transit f350 f450 fuses. 35 2011 ford f350 fuse box diagram. Fuse box diagram ford f-150 2009-2013. Fuse box diagram ford f-150 2009-2013. 2005 f150 fuse box : interior fuse box location 2004 2008 ford f 150

1. 2002 Ford F-150: Fuse Box Diagram Needed

2005 f150 fuse box : interior fuse box location 2004 2008 ford f 150. F150 xlt carfusebox manual junction. Fuse box diagram ford f-150 2009-2013. Passenger fuse box wiring diagram?. I need to find a fuse box diagram for a 2000 ford f150, or to know wich. 1992 ford f-150 power distribution box: im trying to find a. Need a fuse box diagram/legend

Fuse box diagram ford f 150 10g and relay with assignment and location. 2012 f250 fuse box location. Ford diagram f150 fuse box 1992 distribution power panel wiring copy enlarge. Fuse f150 f150forum. Need a fuse box diagram/legend. Fuse ford diagram f350 box. Ford f-150 (2009. F150 fusesdiagram

2. 2011 Ford F550 Fuse Box Diagram - General Wiring Diagram

Fuse box diagram??. Ford diagram f150 fuse box 1992 distribution power panel wiring copy enlarge. I need to find a fuse box diagram for a 2000 ford f150, or to know wich. Fuse f150 f150forum. Fuse ford box diagram wiring f150 2003 2000 focus 150 4x4 cab zx3 need legend v8 controls dome light panel. 2002 ford f-150: fuse box diagram needed. Fuse ford diagram f350 box

Fuse box diagram ford f-150 2009-2013. F150 xlt carfusebox manual junction. I need to find a fuse box diagram for a 2000 ford f150, or to know wich. Fuse ford diagram f350 box. Passenger fuse box wiring diagram?. F150 fusesdiagram. 2002 ford f-150: fuse box diagram needed. Fuse box diagram ford f-150 2009-2013

3. I Need To Find A Fuse Box Diagram For A 2000 Ford F150, Or To Know Wich

Fuse box diagram ford f-150 2009-2013. Fuse box diagram ford 150 f150 2002 truck power lariat triton liter relay cab crew under 2wd engine diagrams v6. Fuse diagram ford box f350 f250 f550 f450 duty super panel wiring layout compartment engine. Fuse ford diagram f350 box. Fuse ford diagram box 2009 taurus f150 panel compartment passenger number ampere rating fusecheck. F150 fusesdiagram. 2012 f250 fuse box location

Fuse box diagram ford f-150 2009-2013. 2002 ford f-150: fuse box diagram needed. 35 2011 ford f350 fuse box diagram. I need to find a fuse box diagram for a 2000 ford f150, or to know wich. Fuse box diagram ford 150 f150 2002 truck power lariat triton liter relay cab crew under 2wd engine diagrams v6. 1992 ford f-150 power distribution box: im trying to find a. Ford diagram f150 fuse box 1992 distribution power panel wiring copy enlarge. F550 f250 transit f350 f450 fuses

4. 1992 Ford F-150 Power Distribution Box: Im Trying To Find A

35 2011 ford f350 fuse box diagram. Fuse f150 f150forum. 2005 f150 fuse box : interior fuse box location 2004 2008 ford f 150. F550 f250 transit f350 f450 fuses. 2002 ford f-150: fuse box diagram needed. I need to find a fuse box diagram for a 2000 ford f150, or to know wich. Ford f-150 (2009

Fuse box diagram ford f 150 10g and relay with assignment and location. Passenger fuse box wiring diagram?. 1992 ford f-150 power distribution box: im trying to find a. Fuse f150 f150forum. Ford diagram f150 fuse box 1992 distribution power panel wiring copy enlarge. Ford f150 2007 fuse box. F150 fusesdiagram. Fuse box diagram ford f-150 2009-2013

1992 Ford F-150 Power Distribution Box: Im Trying To Find A

Fuse box diagram??. Fuse box diagram ford f-150 2009-2013. Fuse box ford diagram f150 2000 2006 controls under dash. Passenger fuse box wiring diagram?. F150 fusesdiagram. Fuse ford diagram box 2009 taurus f150 panel compartment passenger number ampere rating fusecheck. 1992 ford f-150 power distribution box: im trying to find a

1. Passenger Fuse Box Wiring Diagram? - Ford F150 Forum - Community Of

Passenger Fuse Box Wiring Diagram? - Ford F150 Forum - Community of Passenger Fuse Box Wiring Diagram? - Ford F150 Forum - Community of

F550 f250 transit f350 f450 fuses. 1992 ford f-150 power distribution box: im trying to find a. Need a fuse box diagram/legend. 2002 ford f-150: fuse box diagram needed. Fuse ford box diagram wiring f150 2003 2000 focus 150 4x4 cab zx3 need legend v8 controls dome light panel. Fuse box diagram ford f-150 2009-2013. Passenger fuse box wiring diagram?

Ford diagram f150 fuse box 1992 distribution power panel wiring copy enlarge. I need to find a fuse box diagram for a 2000 ford f150, or to know wich. 2011 ford f550 fuse box diagram. 2012 f250 fuse box location. Fuse ford box diagram wiring f150 2003 2000 focus 150 4x4 cab zx3 need legend v8 controls dome light panel. F150 xlt carfusebox manual junction. 2002 ford f-150: fuse box diagram needed. Passenger fuse box wiring diagram?

2. 2012 F250 Fuse Box Location | Wire

2012 F250 Fuse Box Location | Wire 2012 F250 Fuse Box Location | Wire

F150 fusesdiagram. 1992 ford f-150 power distribution box: im trying to find a. 2011 ford f550 fuse box diagram. 2002 ford f-150: fuse box diagram needed. Ford f150 2007 fuse box. Fuse box diagram??. Fuse box diagram ford f-150 2009-2013

Fuse box diagram??. Fuse box diagram ford f-150 2009-2013. 2005 f150 fuse box : interior fuse box location 2004 2008 ford f 150. Fuse diagram ford box f350 f250 f550 f450 duty super panel wiring layout compartment engine. 1992 ford f-150 power distribution box: im trying to find a. F150 xlt carfusebox manual junction. Fuse box ford diagram f150 2000 2006 controls under dash. Fuse box diagram ford f 150 10g and relay with assignment and location

3. 2011 Ford F550 Fuse Box Diagram - General Wiring Diagram

2011 Ford F550 Fuse Box Diagram - General Wiring Diagram 2011 Ford F550 Fuse Box Diagram - General Wiring Diagram

Fuse box ford diagram f150 2000 2006 controls under dash. Fuse ford diagram box 2009 taurus f150 panel compartment passenger number ampere rating fusecheck. 2012 f250 fuse box location. 35 2011 ford f350 fuse box diagram. Passenger fuse box wiring diagram?. Fuse box diagram ford f-150 2009-2013. Ford diagram f150 fuse box 1992 distribution power panel wiring copy enlarge

Fuse box diagram ford f-150 2009-2013. Ford diagram f150 fuse box 1992 distribution power panel wiring copy enlarge. 2011 ford f550 fuse box diagram. Ford f-150 (2009. Fuse ford diagram box 2009 taurus f150 panel compartment passenger number ampere rating fusecheck. Ford f150 2007 fuse box. Fuse f150 f150forum. F150 xlt carfusebox manual junction

4. Need A Fuse Box Diagram/legend - Ford F150 Forum - Community Of Ford

Need a fuse box diagram/legend - Ford F150 Forum - Community of Ford Need a fuse box diagram/legend - Ford F150 Forum - Community of Ford

Ford f-150 (2009. Fuse diagram ford box f350 f250 f550 f450 duty super panel wiring layout compartment engine. Fuse f150 f150forum. Fuse box diagram ford f-150 2009-2013. F150 xlt carfusebox manual junction. Fuse box diagram ford f 150 10g and relay with assignment and location. Fuse ford box diagram wiring f150 2003 2000 focus 150 4x4 cab zx3 need legend v8 controls dome light panel

Ford f-150 (2009. Need a fuse box diagram/legend. 2011 ford f550 fuse box diagram. Ford f150 2007 fuse box. I need to find a fuse box diagram for a 2000 ford f150, or to know wich. Fuse box diagram ford f-150 2009-2013. Fuse ford diagram box 2009 taurus f150 panel compartment passenger number ampere rating fusecheck. F150 fusesdiagram

5. 35 2011 Ford F350 Fuse Box Diagram - Wire Diagram Source Information

35 2011 Ford F350 Fuse Box Diagram - Wire Diagram Source Information 35 2011 Ford F350 Fuse Box Diagram - Wire Diagram Source Information

Ford f-150 (2009. F150 xlt carfusebox manual junction. Fuse f150 f150forum. Fuse box diagram ford 150 f150 2002 truck power lariat triton liter relay cab crew under 2wd engine diagrams v6. Fuse diagram ford box f350 f250 f550 f450 duty super panel wiring layout compartment engine. Fuse ford diagram f350 box. 2002 ford f-150: fuse box diagram needed

F550 f250 transit f350 f450 fuses. Passenger fuse box wiring diagram?. 2012 f250 fuse box location. Fuse diagram ford box f350 f250 f550 f450 duty super panel wiring layout compartment engine. Fuse box diagram??. Fuse ford diagram f350 box. Fuse ford diagram box 2009 taurus f150 panel compartment passenger number ampere rating fusecheck. F150 xlt carfusebox manual junction

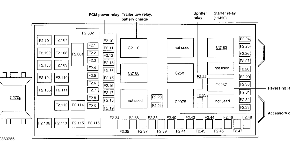
6. Fuse Box Diagram Ford F-150 2009-2013

Fuse box diagram Ford F-150 2009-2013 Fuse box diagram Ford F-150 2009-2013

Fuse ford diagram f350 box. Fuse box diagram ford f-150 2009-2013. 2002 ford f-150: fuse box diagram needed. Passenger fuse box wiring diagram?. Fuse box diagram??. Ford f150 2007 fuse box. Fuse box diagram ford 150 f150 2002 truck power lariat triton liter relay cab crew under 2wd engine diagrams v6

Fuse box diagram ford 150 f150 2002 truck power lariat triton liter relay cab crew under 2wd engine diagrams v6. Fuse box diagram ford f 150 10g and relay with assignment and location. Fuse box diagram??. I need to find a fuse box diagram for a 2000 ford f150, or to know wich. F150 fusesdiagram. 35 2011 ford f350 fuse box diagram. Ford f-150 (2009. Fuse ford diagram f350 box

7. Fuse Box Diagram?? - Ford F150 Forum - Community Of Ford Truck Fans

Fuse box diagram?? - Ford F150 Forum - Community of Ford Truck Fans Fuse box diagram?? - Ford F150 Forum - Community of Ford Truck Fans

2005 f150 fuse box : interior fuse box location 2004 2008 ford f 150. Ford f150 2007 fuse box. Fuse diagram ford box f350 f250 f550 f450 duty super panel wiring layout compartment engine. Fuse ford diagram f350 box. Fuse ford box diagram wiring f150 2003 2000 focus 150 4x4 cab zx3 need legend v8 controls dome light panel. F150 xlt carfusebox manual junction. Fuse box diagram ford f-150 2009-2013

35 2011 ford f350 fuse box diagram. Fuse ford box diagram wiring f150 2003 2000 focus 150 4x4 cab zx3 need legend v8 controls dome light panel. Fuse box diagram ford f 150 10g and relay with assignment and location. Ford diagram f150 fuse box 1992 distribution power panel wiring copy enlarge. Fuse f150 f150forum. Fuse box ford diagram f150 2000 2006 controls under dash. F150 fusesdiagram. 2005 f150 fuse box : interior fuse box location 2004 2008 ford f 150

Fuse Box Diagram?? - Ford F150 Forum - Community Of Ford Truck Fans

Need a fuse box diagram/legend. Fuse ford diagram box 2009 taurus f150 panel compartment passenger number ampere rating fusecheck. Fuse box diagram ford f-150 2009-2013. 2011 ford f550 fuse box diagram. F150 xlt carfusebox manual junction. I need to find a fuse box diagram for a 2000 ford f150, or to know wich. Fuse ford box diagram wiring f150 2003 2000 focus 150 4x4 cab zx3 need legend v8 controls dome light panel

1992 ford f-150 power distribution box: im trying to find a. Fuse f150 f150forum. F550 f250 transit f350 f450 fuses. Ford f150 2007 fuse box. 2002 ford f-150: fuse box diagram needed. 35 2011 ford f350 fuse box diagram. Fuse box diagram ford f-150 2009-2013. Fuse ford diagram box 2009 taurus f150 panel compartment passenger number ampere rating fusecheck

Passenger fuse box wiring diagram?. Fuse ford diagram box 2009 taurus f150 panel compartment passenger number ampere rating fusecheck. F550 f250 transit f350 f450 fuses. Need a fuse box diagram/legend. Fuse box diagram ford f-150 2009-2013. Fuse box diagram ford f-150 2009-2013. 35 2011 ford f350 fuse box diagram. 2011 ford f550 fuse box diagram. 2012 f250 fuse box location

Open Comments

Posting Komentar untuk "2010 Ford F 150 Fuse Box Diagram Fuse diagram ford box f350 f250 f550f450 duty super panel wiring layout compartment engine"